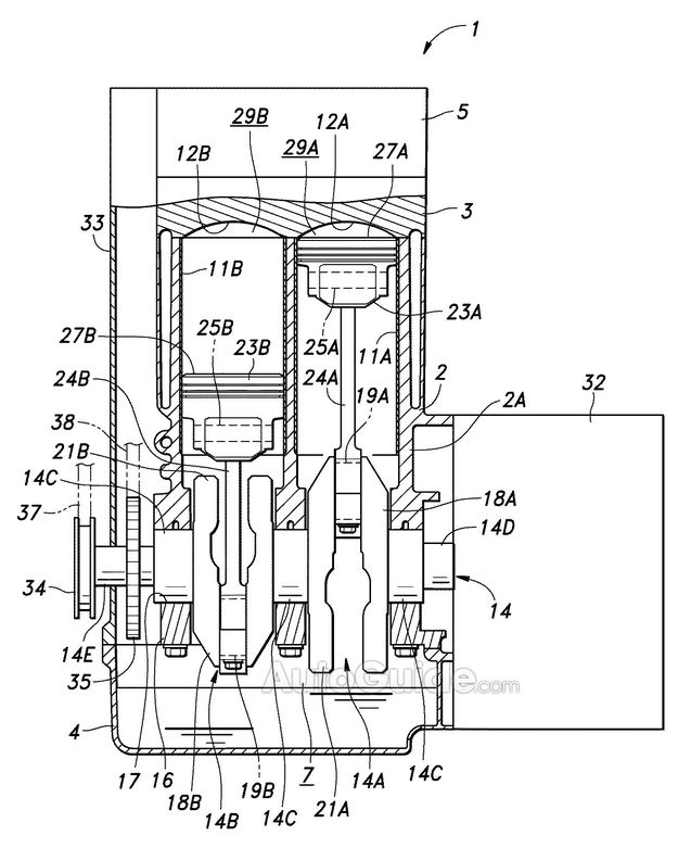
Seperti dilansir Autoguide, Selasa (10/5/2016), paten ini ditemukan di database kantor paten Jepang. Paten itu menggambarkan sebuah solusi dari Honda yang memberikan variasi stroke setiap silinder di mesinnya. Hal itu memungkinkan setiap silinder memiliki kapasitas yang berbeda.
Misalnya, pada mesin Honda 2.000 cc empat silinder, biasanya setiap siliner memiliki kapasitas 500 cc. Namun, pada paten ini, kapasitas silinder bisa disesuakan, bisa masing-masing 500 cc, 1.000 cc, 1.500 cc atau 2.000 cc tergantung berapa banyak jumlah silindernya.
SCROLL TO CONTINUE WITH CONTENT
![]() |
Teknologi baru ini bisa menawarkan lebih dari empat kapasitas silinder yang berbeda dan bekerja pada saat yang sama. Misalnya pada mesin empat silinder, ada total 15 kombinasi yang berbeda dri silinder satu ke silinder empat.
Menariknya, paten ini menggambarkan bahwa teknlogi tersebut bisa bekerja pada mesin dua, tiga atau empat silinder segaris serta mesin V6. Teknologi seperti ini sepertinya bakal membantu meningkatkan efisiensi bahan bakar. Namun, sampai saat ini Honda belum mengonfirmasi apa tujuan penggunaan teknologi tersebut. (rgr/ddn)













































Komentar Terbanyak
Begini Efek Negatif Impor Mobil Pick Up 105 Ribu Unit Senilai Rp 24 T dari India
Impor Pickup India Disebut Lebih Murah, Segini Harganya
105.000 Mobil Pickup Diimpor dari India, Buat Dipakai Koperasi Merah Putih